Forum Discussion

Steven06's avatar
Steven06
Icon for New Contributor rankNew Contributor
9 months ago
Solved

Question related to clock resource on Stratix V GX evaluation board

Hi,

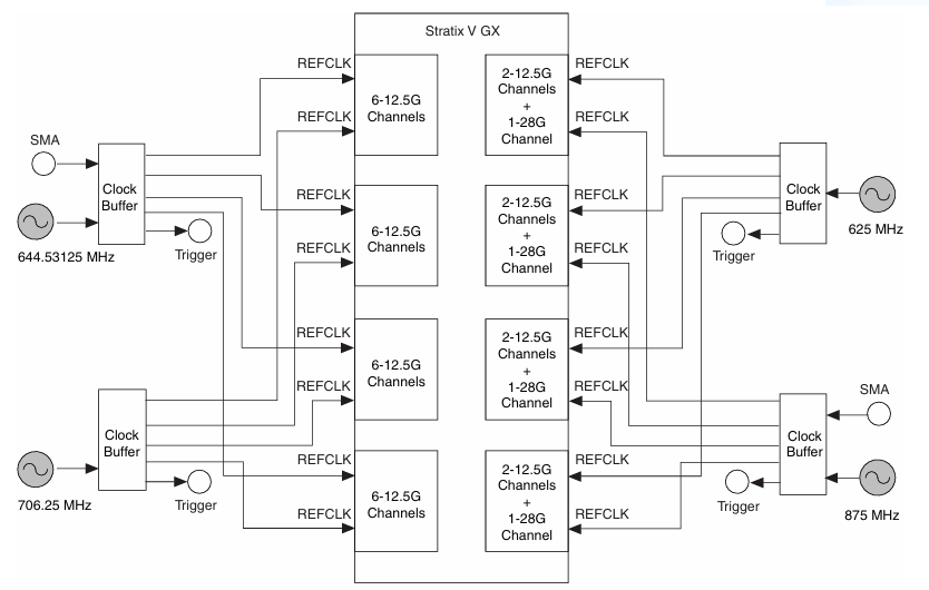
I have difficulty finding the clock resource on Intel Stratix V GX edition transceiver signal integrity development kit. I have read the reference manual to this evaluation board, I saw there are 4 oscillators at 625MHz, 644.53125 MHz, 706.25 MHz, and 875 MHz available on board, but the device pin number is not available in the manual.

I am wondering if it is possible to utilize these oscillators for clock purpose for my verilog code? I am using clock control block (ALTCLKCTRL) IP core.

Please guide me how I should proceed.

Thank you,

Steven

  • The high-speed clocks on the Stratix V GX Signal Integrity Kit—those running at 625 MHz, 644.53125 MHz..... —are tied strictly to the transceiver circuits. They aren’t usable for core logic, can’t feed the main PLLs, and won’t connect through something like ALTCLKCTRL. They’re simply not wired for general use in your design. If you need a clock for your logic, you’ll have to look elsewhere—like a lower-frequency on-board oscillator (often something like 50 MHz), or bring in your own via an HSMC port or SMA connector. Just make sure the pin you use can actually connect to the FPGA’s internal clock routing.








9 Replies

    • FvM's avatar
      FvM
      Icon for Super Contributor rankSuper Contributor
      According to reference manual, said clocks are connected exclusively as transceiver reference clocks, thus not available to feed core clock network and PLLs.
      • Steven06's avatar
        Steven06
        Icon for New Contributor rankNew Contributor

        Hi FvM,

        Thank you for your reply.

        Can you please let me know which page in the manual this information is mentioned?

        Thank you.

    • Steven06's avatar
      Steven06
      Icon for New Contributor rankNew Contributor

      Thank you sstrell, I'll look into the schematics of the kit.

  • FvM's avatar
    FvM
    Icon for Super Contributor rankSuper Contributor

    Connection of oscillators is shown in reference manual, figure 2-6.

  • KennyT_altera's avatar
    KennyT_altera
    Icon for Super Contributor rankSuper Contributor

    The high-speed clocks on the Stratix V GX Signal Integrity Kit—those running at 625 MHz, 644.53125 MHz..... —are tied strictly to the transceiver circuits. They aren’t usable for core logic, can’t feed the main PLLs, and won’t connect through something like ALTCLKCTRL. They’re simply not wired for general use in your design. If you need a clock for your logic, you’ll have to look elsewhere—like a lower-frequency on-board oscillator (often something like 50 MHz), or bring in your own via an HSMC port or SMA connector. Just make sure the pin you use can actually connect to the FPGA’s internal clock routing.








  • Steven06's avatar
    Steven06
    Icon for New Contributor rankNew Contributor

    Hi Kenny_Tan,

    Thank you for your reply.

    That would be all questions I have for now.

    Best Regards,

  • KennyT_altera's avatar
    KennyT_altera
    Icon for Super Contributor rankSuper Contributor

    I’m glad that your question has been addressed, I now transition this thread to community support. If you have a new question, Please login to ‘https://supporttickets.intel.com/s/?language=en_US’, view details of the desire request, and post a feed/response within the next 15 days to allow me to continue to support you. After 15 days, this thread will be transitioned to community support. The community users will be able to help you on your follow-up questions.